Prodotti

Magni li Jagħmlu Tazza tal-Karta li jintremew



Parametru
Isem | MAGNA TAZZA KARTA | |
Mudell | TO-S800型 | |
Daqs tat-Tazza tal-Karta | 3-16 OZ | |
Materja Prima | Karta miksija PE fuq naħa waħda jew fuq żewġ naħat (karta miksija PE Singe jew PE Double) | |
Veloċità | 75-85 pcs/min | |
Piż tal-karta addattat | 100-300g/㎡;±20g/㎡ | |
Provvista ta 'vultaġġ | 380V(220V) 50HZ | |
daqs tazza | qiegħ35-70mm, fuq45-90mm, għoli32-135mm | |
Sors ta 'l-Arja ta' Ħidma | {{0}}.4-0.6Mpa; 0.4m³/min | |
Qawwa ġenerali | 6kw | |
Piż nett | 2000kg | |
| Kejl (mm) | Magna prinċipali | L:2100mm;W:1200mm;H:1800mm |
Kollettur tazza 100kgs | L:900mm;W:600mm;H:1500mm | |
Issiġillar tal-Ġenb tat-Tazza | Ultrasoniku EVERGREEN | |
Knurling tal-qiegħ | Sħana nfiħ arja | |


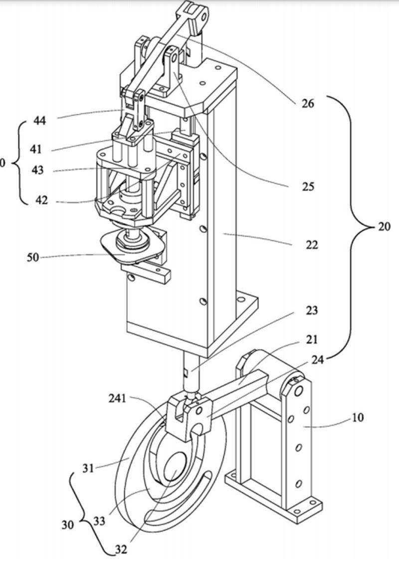
teknoloġija tal-magna 1.tazza tal-karta:
Apparat li jiġbed it-tazza u li jwaqqa' t-tazza, li jinkludi bank tax-xogħol, unità għat-twaqqigħ tat-tazza rranġata fuq il-bank tax-xogħol, biex
u unità li tifforma l-ħdejjed irranġata fuq naħa waħda tal-unità tat-twaqqigħ tat-tazza. L-unità tal-qatra tat-tazza tinkludi a
Ix-xaft li jdur li jwaqqa' t-tazza fuq l-istadju, diska li ddur tat-tazza stabbilita fuq ix-xaft li jdur li jwaqqa 'tazza, u pluralità ta' diski li jduru li jwaqqgħu t-tazza rranġati fuq ix-xaft li jdur li jwaqqa' t-tazza
Kikkra tal-karta muntaturi fuq it-trej għall-immuntar tazzi tal-karti, u apparat ta 'tazza tal-ġbid ipprovdut fuq il-bank tax-xogħol. it-tazza tal-ġbid
L-apparat jinkludi tubu tal-lift imdaħħal fuq il-mejda tax-xogħol, pjanċa tal-ġbid irranġat f'tarf wieħed tat-tubu tal-lift, u
Toqba tal-ġbid ipprovduta fuq il-pjanċa tal-ġbid. Il-pajp tal-lift u t-toqba tat-tazza tal-ġbid jikkomunikaw ma 'xulxin. Il-forma tal-keffa
L-element jinkludi xaft ta 'rotazzjoni tal-keffa rranġat fuq il-mejda tax-xogħol, u xaft ta' rotazzjoni tal-keffa rranġat fuq ix-xaft tar-rotazzjoni tal-keffa
diska, pluralità ta 'heming forming dies rranġati fuq id-diska rotanti tal-keffa, u holder tat-tazza stabbilit fuq il-mejda tax-xogħol
sett. Kull waħda mill-forom tal-iffurmar tal-keffa tinkludi korp tal-moffa mqiegħda fuq id-diska li ddur tal-ħeffa, u korp tal-moffa mqiegħda fuq id-diska li ddur tal-keffa.
It-toqba tal-moffa li jakkomoda l-assjali tal-korp tal-moffa, u tarf tat-tarf imqiegħed f'tarf wieħed tat-toqba tal-mezz li jakkomoda li tħares 'il bogħod mill-holder tat-tazza
li jiffurmaw skanalaturi. L-apparat li jżomm it-tazza jinkludi unità ta 'sewqan tal-lift ta' detentur ta 'tazza rranġata fuq il-mejda tax-xogħol, u a
Unità tat-trej tat-tazza pprovduta fuq l-unità tas-sewqan tal-lift tal-trej tat-tazza. L-unità tal-kontenitur tat-tazza tinkludi a
Pjattaforma ta 'rfigħ li tiżżerżaq, u mill-inqas pjanċa waħda ta' detentur ta 'tazza rranġata fuq il-pjattaforma ta' rfigħ li tiżżerżaq. Meta t-tazza tal-karta tkun irrumblata, il-ġbid
L-apparat tat-tazza huwa fl-istess linja bħall-assi ċentrali ta 'waħda mill-forom li jiffurmaw il-ħdejjed u waħda mill-partijiet tal-immuntar tat-tazza tal-karta, u kwalunkwe
L-assi ċentrali ta 'waħda mit-trejs tat-tazza tikkoinċidi mal-assi ċentrali ta' waħda mill-forom tal-iffurmar tal-hemming, sabiex tirrealizza l-waqgħa u l-waqgħa tat-tazza tal-karta.

FAQ
1) Kif tordna dantazza tal-kartamagna minnek?
Wara li tikkonferma d-dettalji tal-ordni, aħna nibagħtulek Fattura Proforma għall-konferma. Il-produzzjoni se tiġi rranġata malli tirċievi l-ħlas. Id-dokumenti tat-tbaħħir se jintbagħtu madwar ġimgħa wara t-tluq.
2) Jekk għandi xi problema teknika, kif tista 'tgħinna nsolvuha?
Deskrizzjoni dettaljata, ritratti jew video se jgħinu lit-tekniku tagħna janalizza l-problema u jagħti s-soluzzjoni kif xieraq.
It-tags Popolari: magna li tagħmel tazza tal-karta li tintrema, iċ-Ċina, manifatturi, fabbrika, prezz








